系统优化专家-全面优化系统性能
系统优化专家-全面优化系统性能
  • 首页
  • 系统优化软件
  • 性能提升
  • 资源管理
首页 用户投稿 第19页发布的文章
制作电科技 长鑫科技申请封装结构及其制作方法,电子设备专利,提高散热性能

制作电科技 长鑫科技申请封装结构及其制作方法,电子设备专利,提高散热性能

长鑫科技申请封装结构及其制作方法、电子设备专利,提高散热性能金融界2025年6月2日消息,国家知识产权局信息显示,长鑫科技集团股份有限公司申请一项名为“封装结构及其制作方法、电子设备”的专利,公开号C...

用户投稿 2025-08-18 27

利用科技灭火 无人机,机器人齐出动!看这些消防“黑科技”如何灭火

利用科技灭火 无人机,机器人齐出动!看这些消防“黑科技”如何灭火

无人机、机器人齐出动!看这些消防“黑科技”如何灭火来源:【江西日报-江西新闻客户端】视频加载中...江西新闻客户端讯(陆文青全媒体记者查婧雨)11月8日上午,2024年度全省大型商业综合体灭火救援实...

用户投稿 2025-08-18 19

初中科技研学 暑期研学  探前沿科技奥秘——科学城一中初中学子开启研学之旅

初中科技研学 暑期研学 探前沿科技奥秘——科学城一中初中学子开启研学之旅

暑期研学探前沿科技奥秘——科学城一中初中学子开启研学之旅览千年蜀韵风华探前沿科技奥秘初中学子开启研学之旅为深入贯彻科教兴国战略,培养学生科学素养与创新精神,践行“五育并举”育人理念,科学城一中于2...

用户投稿 2025-08-18 25

创维白板软件下载 新华调查|白天下架,夜间上架——起底网购低价电视机骗局

创维白板软件下载 新华调查|白天下架,夜间上架——起底网购低价电视机骗局

新华调查|白天下架、夜间上架——起底网购低价电视机骗局新华社兰州9月4日电题:白天下架、夜间上架——起底网购低价电视机骗局新华社记者李梓潇、张智敏、胡伟杰白天全部下架,夜间又重新上架,售价比官方旗舰...

用户投稿 2025-08-18 28

创新科技6 深圳能源2025年度科技创新大会召开 6项重大成果发布

创新科技6 深圳能源2025年度科技创新大会召开 6项重大成果发布

深圳能源2025年度科技创新大会召开6项重大成果发布...

用户投稿 2025-08-18 42

创客汇科技 第十届安全创客汇复赛长沙站落幕 双赛道年度10强企业名单出炉

创客汇科技 第十届安全创客汇复赛长沙站落幕 双赛道年度10强企业名单出炉

第十届安全创客汇复赛长沙站落幕双赛道年度10强企业名单出炉5月23日,2025第十届安全创客汇复赛在湖南马栏山(长沙)视频文创园落幕,经过评审团的严格评判,“技术创新”和“成长潜力”双赛道年度10强...

用户投稿 2025-08-18 20

创业科技园区 平顶山高新区创新创业服务园区:生产经营“稳”基础 科技创新“增”动能

创业科技园区 平顶山高新区创新创业服务园区:生产经营“稳”基础 科技创新“增”动能

平顶山高新区创新创业服务园区:生产经营“稳”基础科技创新“增”动能河南经济报记者吉娜通讯员李淑娟稳生产、保增长企业经营逆势上扬今年以来,平顶山市高新区创新创业服务园区积极推动企业生产经营与科...

用户投稿 2025-08-18 16

出租房管理软件破解版 非法破解软件并加价出租出售 4人获刑并赔偿损失448万余元

出租房管理软件破解版 非法破解软件并加价出租出售 4人获刑并赔偿损失448万余元

非法破解软件并加价出租出售4人获刑并赔偿损失448万余元封面新闻记者黄晓庆近日,四川隆昌市人民法院成功调解了一起涉知识产权的刑事附带民事诉讼案件,为企业挽回了高达448万余元的经济损失。广某达公司...

用户投稿 2025-08-18 34

凯瑞斯科技有限公司 6起假劣农资案曝光,最高罚款11倍

凯瑞斯科技有限公司 6起假劣农资案曝光,最高罚款11倍

6起假劣农资案曝光,最高罚款11倍“...

用户投稿 2025-08-17 30

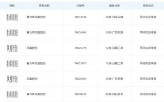
凤凰科技直播 赛力斯凤凰智创申请 OTA 更新方法,装置,电子设备及介质专利,实时动态适应网络环境变化

凤凰科技直播 赛力斯凤凰智创申请 OTA 更新方法,装置,电子设备及介质专利,实时动态适应网络环境变化

赛力斯凤凰智创申请OTA更新方法、装置、电子设备及介质专利,实时动态适应网络环境变化金融界2025年8月5日消息,国家知识产权局信息显示,重庆赛力斯凤凰智创科技有限公司申请一项名为“O...

用户投稿 2025-08-17 27

首页 上一页 15 16 17 18 19 20 21 22 23 24 下一页 尾页

随机图文

  • 技术男明星 点亮国家科技征途的十五颗明星

    技术男明星 点亮国家科技征途的十五颗明星

    2025-05-290
  • 技术管理强化 加强规范管理,筑牢安全实习城墙——芜湖高级职业技术学校加强实习中期管理

    技术管理强化 加强规范管理,筑牢安全实习城墙——芜湖

    2025-05-290
  • 潍坊新正科技 潍坊市“三线一单”编制中标公告

    潍坊新正科技 潍坊市“三线一单”编制中标公告

    2025-05-300

最新文章

  • 雪峰科技业绩,雪峰科技业绩预告

    雪峰科技业绩,雪峰科技业绩预告

    2025-09-06110
  • 厦门泛森科技,厦门泛森科技招聘信息

    厦门泛森科技,厦门泛森科技招聘信息

    2025-09-02157
  • 门禁科技展,门禁系统展会

    门禁科技展,门禁系统展会

    2025-09-02157
  • 工行手机软件怎么老是打不开,工行手机软件怎么老是打不开呢

    工行手机软件怎么老是打不开,工行手机软件怎么老是打不

    2025-09-02115
  • 昊龙科技有限公司,昊龙科技有限公司主要做什么

    昊龙科技有限公司,昊龙科技有限公司主要做什么

    2025-09-01113
  • 卓视科技,卓视科技有限公司

    卓视科技,卓视科技有限公司

    2025-09-01115

热门文章

    关于本站

    本站文章由用户自发投稿,如有问题,请联系管理员处理!

    本站部分文字及图片均来自于网络及用户投稿,如有侵权请及时联系删除处理

    Copyright © 2023 本站基于爱采购 京ICP备2023008455号-185

    后台管理 网站地图: XML地图 TXT地图 HTML图

    联系我们

    合作或咨询可通过如下方式:

    QQ:623431139

    QQ:372192674

    TEL:4006-3721-06

    关注我们

    系统优化专家-全面优化系统性能二维码